王文银及正威集团等被强执9.9亿
来源:企查查
2024-05-22 16:01:21
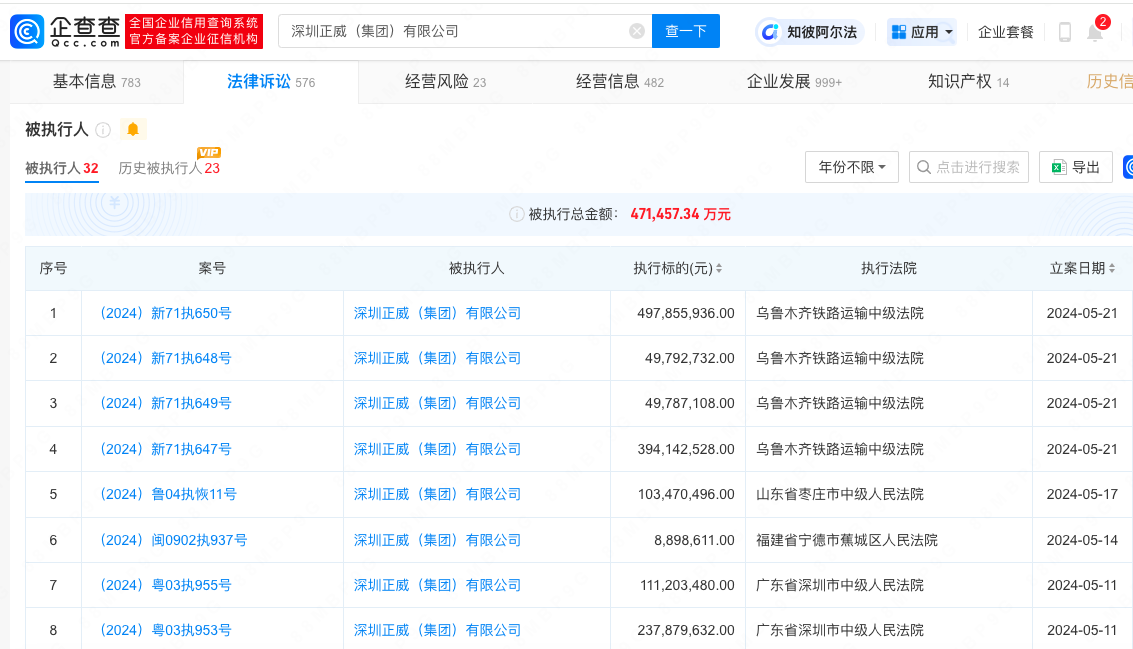
据企查查APP显示,5月21日,深圳正威(集团)有限公司、王文银等新增4条被执行人信息,执行标的合计9.91亿余元,部分案件被执行人还包括深圳正威智能终端科技控股有限公司、新疆皓威高精材料有限公司等,执行法院均为乌鲁木齐铁路运输中级法院。

企查查信息显示,该公司成立于2011年9月,法定代表人为孙学勇,注册资本70亿人民币,由正威控股集团有限公司全资持股。风险信息显示,该公司存在32条被执行人信息,被执行总金额超47亿元,此外还存在限制消费令、终本案件及股权冻结信息。


(企查查)
责任编辑:石卉
