小米为新车YU7申请商标
来源:天眼查
2024-12-25 16:11:43
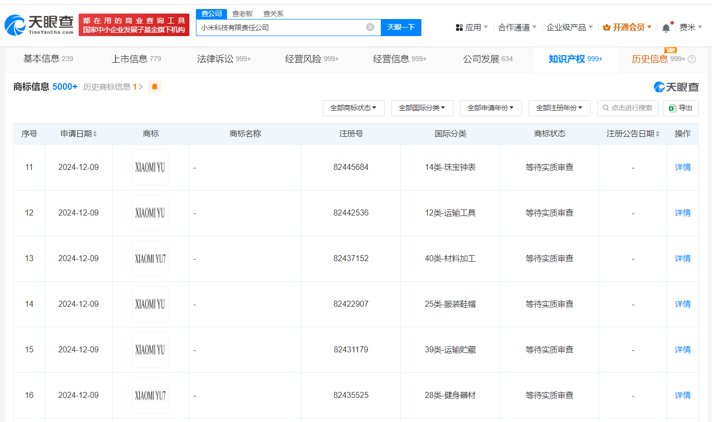
天眼查知识产权信息显示,近日,小米科技有限责任公司申请注册多枚“XIAOMI YU7”“XIAOMI YU”商标,国际分类包含运输贮藏、运输工具、科学仪器等,当前商标状态均为等待实质审查。
据媒体报道,12月9日晚间,小米汽车官方微博发布动态显示,小米汽车第二款车型为SUV,定名为“小米YU7”,预计2025年6-7月正式上市。


(天眼查)
责任编辑:王雪婷

来源:天眼查
2024-12-25 16:11:43
天眼查知识产权信息显示,近日,小米科技有限责任公司申请注册多枚“XIAOMI YU7”“XIAOMI YU”商标,国际分类包含运输贮藏、运输工具、科学仪器等,当前商标状态均为等待实质审查。
据媒体报道,12月9日晚间,小米汽车官方微博发布动态显示,小米汽车第二款车型为SUV,定名为“小米YU7”,预计2025年6-7月正式上市。


(天眼查)
责任编辑:王雪婷