海量财经丨格力回应专卖店改名“董明珠健康家” 突破“格力只有空调”印象
海量财经 | 2025-02-25 14:15:30原创
周凌峰 来源:大众新闻·海报新闻
近日,格力电器在全国多地的终端线下店纷纷更名为“董明珠健康家”,同时多个由格力认证的直播账号也同步更名为“董明珠健康家”。此番连续密集的调整,引发了多方关注与热议。
2月24日,格力电器市场总监朱磊在媒体座谈会上,谈到了最近受到热议的格力全新战略品牌“董明珠健康家”。针对多地格力电器终端线下店更名“董明珠健康家”一事,朱磊表示外界存在误解。“从去年年底开始,我们就在谋划‘董明珠健康家’的相关事宜,这是新一轮有准备、有应对的‘突围’。”朱磊强调,“董明珠”三个字已被格力电器注册,董明珠本人无法利用自己的名字进行商业变现。外界关于“董明珠转移格力资产”的猜测纯属误解。
他还举例说明:“格力电器商标没有改变,就如同胖东来售卖的各类商品都有各自品牌一样。董明珠健康家卖的都是格力电器,外界对企业领导人存在误解”。

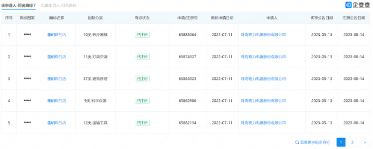
图源:企查查
朱磊进一步解释,“董总流量很大,我们都清楚流量意味着财富,但董总本人没办法用自己的名字去赚钱,因为她的名字归属于格力,她将一生都奉献给了格力,甚至连名字都被公司注册了”。
记者注意到,2024年上半年,格力电器便从产品、渠道、品牌、运营四大维度发布了冰洗生活电器新蓝图。在2024年5月22日的格力新品品鉴会上,格力电器董事长兼总裁董明珠首次明确表示:“从‘好空调’到‘好电器’,格力已实现这一战略转变。”
朱磊对媒体表示:过去几年,格力一直在谋求多元化布局,着力解决格力空调产品“单极化”的问题。我们更名“董明珠健康家”,实质上,是在搭建一个更加开放、清晰的平台,以此来改变消费者对格力只卖空调的固有认知。
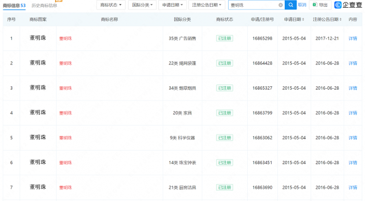
图源:百度地图
据此前报道,“董明珠健康家”是格力电器于2025年2月13日发布的全新战略品牌,这一品牌升级不仅涉及线下门店的改造,还包括线上直播间的更名。据不完全统计,目前山东、湖南、四川、广东等多个省份已有专卖店改名。2月17日,河南信阳市“董明珠健康家”门店一名工作人员告诉记者,“董明珠健康家”是门店新门头,销售的仍是格力产品。山东青岛市一门店则告诉记者,山东地区有门店在去年下半年就已更换成了“董明珠健康家”的门头,但他们店还没更换。
从此次格力电器终端线下店更名来看,格力似乎要用个人IP带动品牌销售,坊间针对这一新门店名称也有着各自不同的分析。
“其实,‘董明珠’这三个字从2015年开始,已经陆续注册在格力旗下,所以市场对格力以及公司的领导者是存在误读的。我们需要明确——是格力的董明珠,而不是董明珠的格力。”朱磊称,无论是“制造驱动”,还是“个人IP驱动”,这些所谓的判断都不准确。
根据格力官方发布的信息显示,“董明珠健康家”将通过场景化体验、数据可视化和智能交互服务等方式,重构零售价值链。这意味着消费者在新的专卖店中将能够体验到更加直观、智能化的购物过程。

(大众新闻·海报新闻记者 周凌峰 综合报道)
责任编辑:刘旋
