大型车辆“右转让行”入法 淄川新增37处电警抓拍
贾亮 来源:大众新闻·鲁中晨报
2025-11-19 16:52:31原创

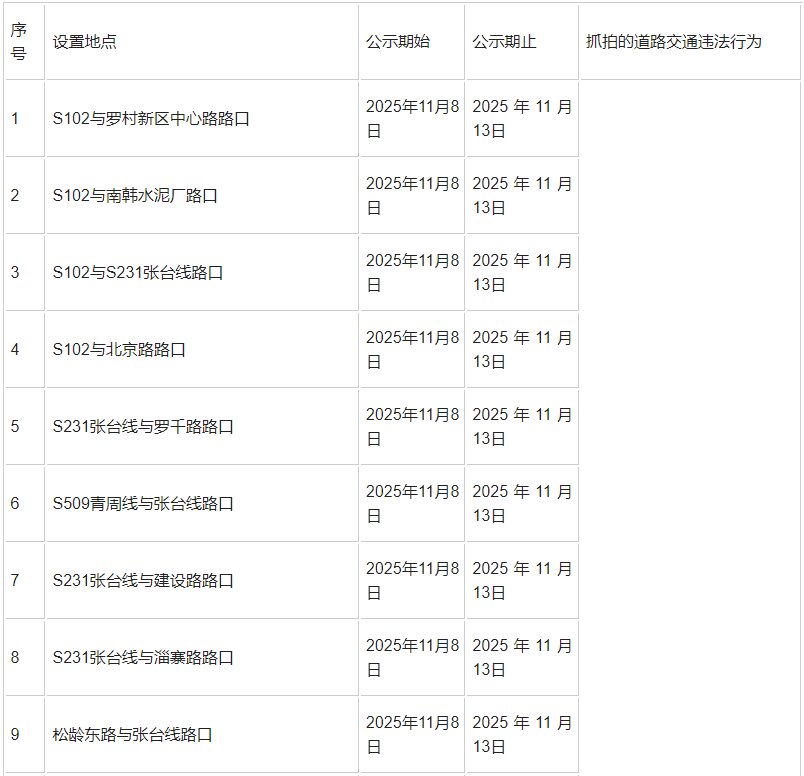
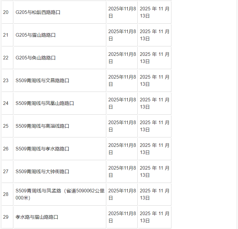
近日,淄川区交管大队为进一步规范大型车辆通行秩序,预防和减少交通事故的发生,根据《山东省实施<中华人民共和国道路交通安全法>办法》关于“大型客车、重型中型载货汽车和公共汽车以及国家和省规定的其他车辆,右转弯时应当停车观察后通行”的规定,在辖区重点国省道对37处电子警察抓拍设备在原公告抓拍交通违法行为基础上,新增抓拍违反禁令标志(大型车辆右转未停车让行)交通违法行为。交警提醒广大大型车辆驾驶人严格遵守“右转停车让行”规定,增强交通安全意识,安全文明出行。
37处电子警察统计表




(大众新闻·鲁中晨报记者 贾亮 通讯员 张天舒)
责任编辑:李中丽
